不锈钢钢闸门是指闸门的门框、门板等主要构件采用不锈钢制造的闸门,本厂生产有各种不锈钢钢闸门,可用于自来水厂、污水处理厂、雨水、给排水、化工、冶金、纺织、造纸等行业中,做孔口或管道介质流量的调控。
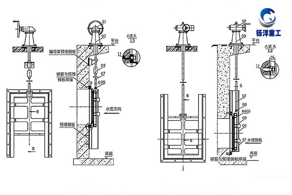
一、不锈钢闸门结构组件
闸框、闸板、楔块、压板、销子、丝杆、密封圈、连接套、密封条、启闭装置等组件构成。其中闸框、闸板、楔块、销子、丝杆、连接套等组件采用304不锈钢制作而成,密封圈采用硅橡胶、丁青橡胶,密封条采用橡胶软密封。
二、不锈钢闸门性能特点
1、可搭载启闭装置类型多样,可气动、电动、手电两用或手动启闭机;
2、密封材质多样可选,可根据应用环境选择不同材质的密封,比如有硅橡胶、丁青橡胶等,密封效果好;
3、适用温度可达80℃;
4、304不锈钢材质,耐腐蚀性能好,闸门比重轻,启闭轻便灵活。
三、外形选型尺寸参数表
| 规格 | 外形尺寸 | |||
| DNxDN | A | I | E | N |
| 200×200 | 400 | 520 | 75 | / |
| 250×250 | 450 | 620 | 75 | / |
| 300×300 | 500 | 720 | 75 | / |
| 350×350 | 600 | 820 | 75 | / |
| 400×400 | 650 | 920 | 75 | / |
| 500×500 | 750 | 1120 | 75 | / |
| 600×600 | 850 | 1400 | 87 | / |
| 700×700 | 950 | 1600 | 87 | / |
| 800×800 | 1050 | 1800 | 87 | / |
| 900×900 | 1150 | 2000 | 87 | / |
| 1000×1000 | 1250 | 2200 | 87 | / |
| 1200×1200 | 1450 | 2600 | 87 | / |
| 1400×1400 | 1650 | 3000 | 100 | / |
| 1500×1500 | 1750 | 3200 | 100 | / |
| 1600×1600 | 1850 | 3400 | 100 | / |
| 1800×1800 | 2100 | 3800 | 100 | / |
| 2000×2000 | 2500 | 4210 | 135 | / |
| 2200×2200 | 2700 | 4610 | 135 | / |
| 2400×2400 | 2900 | 5010 | 135 | / |
| 2500x2500 | 3000 | 5210 | 135 | / |
| 2600×2600 | 3100 | 5410 | 135 | / |
| 2800×2800 | 3300 | 5820 | 135 | / |
| 3000×3000 | 3500 | 6220 | 150 | / |
| 3200×3200 | 3700 | 6620 | 150 | 1600 |
| 3400×3400 | 3900 | 7020 | 150 | 1600 |
| 3600×3600 | 4100 | 7420 | 150 | 1800 |
| 3800×3800 | 4300 | 7820 | 150 | 1800 |
| 4000×4000 | 4500 | 8220 | 150 | 2000 |
